Product Summary
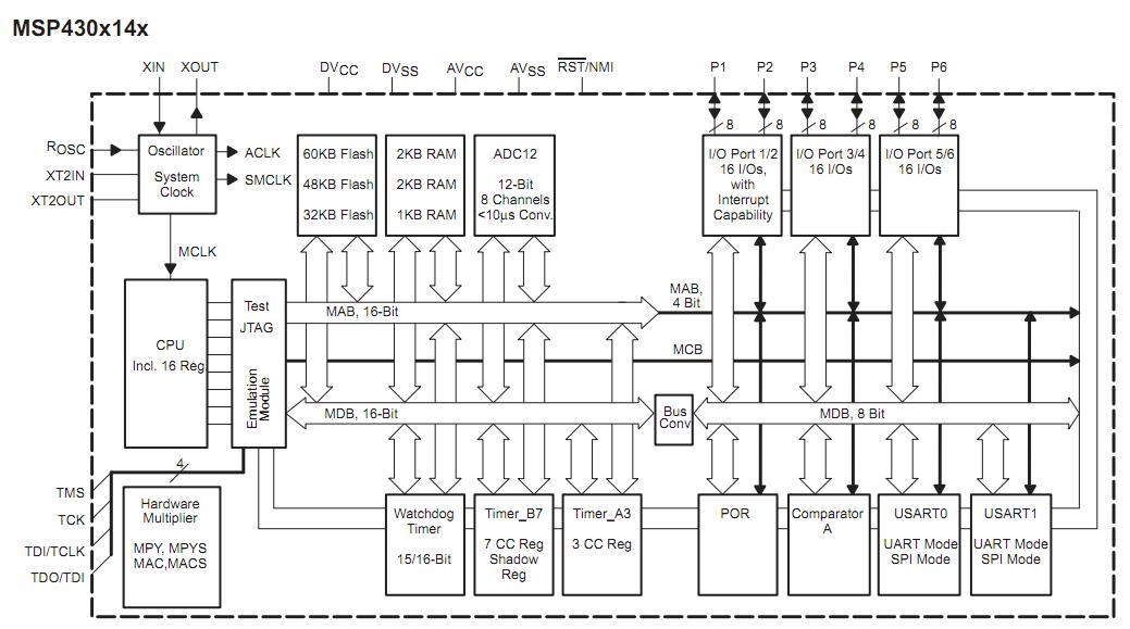
The MSP430F1491IPM is an ultralow-power microcontroller. The MSP430F1491IPM consists of several devices featuring different sets of peripherals targeted for various applications. The architecture, combined with five low power modes is optimized to achieve extended battery life in portable measurement applications. The MSP430F1491IPM features a powerful 16-bit RISC CPU, 16-bit registers, and constant generators that attribute to maximum code efficiency. The digitally controlled oscillator (DCO) allows wake-up from low-power modes to active mode in less than 6 μs.
Parametrics
MSP430F1491IPM absolute maximum ratings: (1)Voltage applied at VCC to VSS: -0.3 V to + 4.1 V; (2)Voltage applied to any pin: -0.3 V to VCC+0.3 V; (3)Diode current at any device terminal: ±2 mA; (4)Storage temperature (unprogrammed device): -55 to 150℃; (5)Storage temperature (programmed device): -40 to 85℃.
Features
MSP430F1491IPM features: (1)Low Supply-Voltage Range, 1.8 V to 3.6 V; (2)Ultralow-Power Consumption: Active Mode: 280 μA at 1 MHz, 2.2V; Standby Mode: 1.6 μA; Off Mode (RAM Retention): 0.1 μA; (3)Five Power-Saving Modes; (4)Wake-Up From Standby Mode in less than 6 μs; (5)16-Bit RISC Architecture, 125-ns Instruction Cycle Time; (6)12-Bit A/D Converter With Internal Reference, Sample-and-Hold and Autoscan Feature; (7)16-Bit Timer_B With Seven Capture/Compare-With-Shadow Registers; (8)16-Bit Timer_A With Three Capture/Compare Registers; (9)On-Chip Comparator; (10)Serial Onboard Programming, No External Programming Voltage Needed Programmable Code Protection by Security Fuse.
Diagrams

| Image | Part No | Mfg | Description | ![]() |
Pricing (USD) |
Quantity | ||||||||||||
|---|---|---|---|---|---|---|---|---|---|---|---|---|---|---|---|---|---|---|
![]() |
![]() MSP430F1491IPM |
![]() Texas Instruments |
![]() 16-bit Microcontrollers (MCU) 60 kB Flash 2KB RAM 2 USART + HW multplr |
![]() Data Sheet |
![]()
|
|
||||||||||||
![]() |
![]() MSP430F1491IPMG4 |
![]() Texas Instruments |
![]() 16-bit Microcontrollers (MCU) 16-Bit UltLoPwr 60kB Flash 2KB RAM |
![]() Data Sheet |
![]()
|
|
||||||||||||
![]() |
![]() MSP430F1491IPMR |
![]() Texas Instruments |
![]() 16-bit Microcontrollers (MCU) 60 kB Flash 2KB RAM 2 USART + HW multplr |
![]() Data Sheet |
![]()
|
|
||||||||||||
![]() |
![]() MSP430F1491IPMRG4 |
![]() Texas Instruments |
![]() 16-bit Microcontrollers (MCU) 16-Bit UltLoPwr 60kB Flash 2KB RAM |
![]() Data Sheet |
![]()
|
|
||||||||||||
(China (Mainland))









